Skip to content
HOME
ACCESSORIES
CONTACT US
HOME
ACCESSORIES
CONTACT US
Search
login
0
Engine
Model : CNJ 1.5T 2015 C-S GASOLINE
Alternator
(34)
Camshaft
(23)
Crankshaft connecting rod system
(34)
Cylinder Block Assembly
(15)
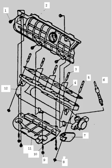
Cylinder head assembly
(34)
Engine Suspension 1
(7)
Engine Suspension 2
(3)
Exhaust manifold
(12)
Fuel injection system
(11)
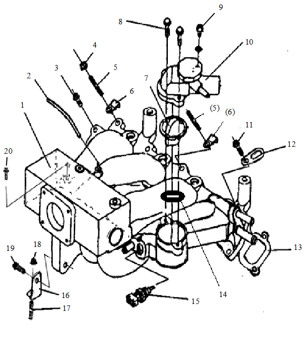
Fuel injection thermostat and intake manifold
(19)
Ignition coil
(3)
Oil pan
(21)
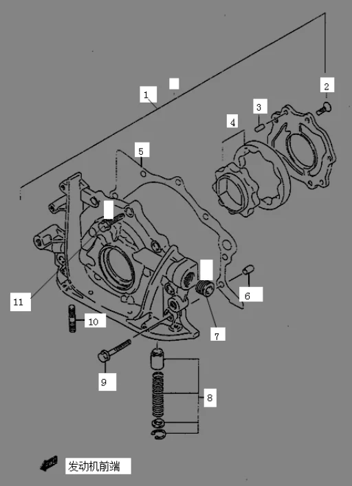
Oil Pump
(11)
Starter
(19)
Throttle body assembly
(12)
Timing Belt
(22)
Water pump
(12)
Engine